¿Multi-screen Switch? Así es la misteriosa patente multipantalla de Nintendo

¿Multi-screen Switch? Así es la misteriosa patente multipantalla de Nintendo
Facebook Twitter Flipboard E-mail
3djuegos

El equipo de 3DJuegos

Aunque tendría sentido para Switch, no se le nombra en el documento de patente.


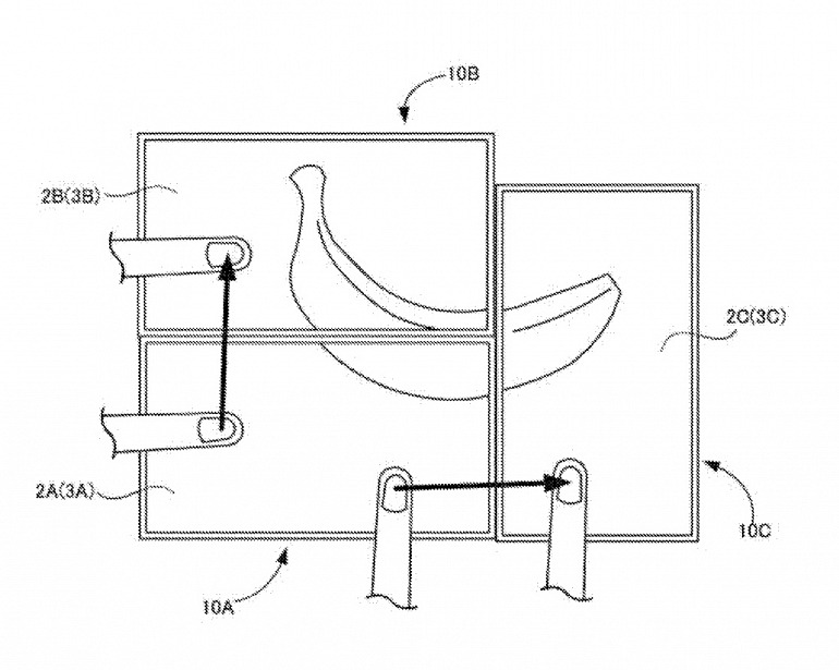
Sin saber hacia dónde se estaría dirigiendo la presente patente, se ha descubierto un interesante proyecto por parte de Nintendo en el que, distintas pantallas, se podrían unir para formar una multipantalla en la que se podría jugar o interactuar con los elementos que aparecen en pantalla. El presente proyecto se muestra con una serie de ejemplos en los que se muestra que es indifrente la colocación de los dispositivos: reconocen el eje de las otras pantallas y reproducen el contenido.

Como adjuntamos en las imágenes de la noticia, un plátano, por ejemplo, sigue mostrándose de una pantalla a otra sin cortes, ya sea colocando el dispositivo sobre la mesa o de pie. En otro ejemplo, se ve a dos pantallas formando una larga pista de bolos en las que, por supuesto, se puede jugar desde los dos dispositivos. La pregunta del millón: ¿De qué dispositivo hablamos? Nintendo Switch sería una candidata perfecta para la presente tecnología, pero parece que no se concreta su nombre en la patente.

La presente e inesperada ausencia abre las puertas a un posible entorno multipantalla para futuribles videojuegos de móvil de Nintendo. Sin embargo, el portal ArsTechnica, va más allá y no descarta que la presente tecnología ya esté instalada en la propia Nintendo Switch. Concretan, además, que la tecnología sin cables de Switch sería suficiente en cuanto a rendimiento de datos y compatibilidad entre los distintos dispositivos. En todo caso, puede ser una de las cartas de Nintendo de cara al próximo E3.

Comentarios cerrados
VÍDEO ESPECIAL

98.269 visualizaciones

Estos han sido los MEJORES JUEGOS del AÑO - RESUMEN de la gala PREMIOS 3DJUEGOS LENOVO 2025

Otro año más 3DJuegos ha celebrado la entrega de premios a los mejores juegos de 2025.Una gala llena de referentes como Sandfall Interactive, las mentes tras Clair Obscure: Expedition 33; la streamer Abby; Christian Gálvez o nuestro premio 3DJuegos Legado, Charles Cecil, desar...