PlayStation ya nos enseñó su nueva 'consola' portátil hace ocho años y no nos dimos cuenta

El diseño de Project Q, el dispositivo que permitirá jugar en remoto a juegos de PS5, ya aparecía en una patente de Sony del año 2015

Prject
5 comentarios Facebook Twitter Flipboard E-mail
sergio-bustos

Sergio Bustos

Colaborador

La semana pasada vimos multitud de tráileres de videojuegos en el PlayStation Showcase, pero también se presentó hardware. Sony enseñó al mundo por primera vez Project Q, un dispositivo portátil para jugar en remoto que puede parecer una consola, pero para funcionar requiere la utilización de una PlayStation 5 transmitiendo los juegos que tenga instalados. De este aparato conocemos varios detalles, pero resulta que la compañía ya nos lo había adelantado sin querer hace un buen tiempo.

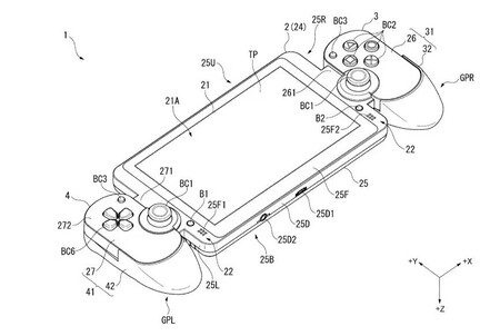
Tal y como leemos en Game Rant, los documentos oficiales han confirmado que, aunque se ha acabado enseñando en 2023, Sony ya tenía el diseño desde el año 2015. Son muchos los que han opinado que PlayStation se apresuraba con esta idea debido a que cada vez hay más consolas portátiles exitosas en el mercado, pero realmente la idea venía de mucho más atrás.

Un diseño similar aparecía en una patente de 2015 y en una actualización de 2021

La compañía presentó hace ocho años una patente muy similar a lo que ha terminado siendo Project Q, que se ha adaptado al diseño del mando DualSense posteriormente. La patente se actualizó finalmente en el año 2021 luciendo un aspecto mucho más parecido al que se confirmó oficialmente el pasado miércoles por la noche en el Showcase, lo que demuestra que PlayStation lleva tiempo manejando la idea de un dispositivo para jugar en remoto.

Patente 1
Patente 2


¿Cuándo se lanzará al mercado?

En relación a cuándo podremos ver en las tiendas esta Project Q, de momento no hay una confirmación oficial respecto a la fecha de lanzamiento del dispositivo. Desde Sony aseguraron que conoceríamos más detalles una vez avancen los meses, pero el insider Tom Henderson, que ya adelantó la existencia del aparato, aseguró tras la presentación que su lanzamiento está previsto para mediados o finales de noviembre de este mismo año 2023.

En 3DJuegos | Todos los juegos de PS4 y PS5 disponibles en PS Plus Extra y Premium, con los últimos cambios de mayo de 2023

En 3DJuegos | Todos los juegos de PS5 y PlayStation 4 que ya puedes jugar en PC

Comentarios cerrados
VÍDEO ESPECIAL

16 visualizaciones

20 JUEGOS con un HYPE BESTIAL que NO CUMPLIERON con las EXPECTATIVAS

De una manera u otra, todos hemos sido presa del hype en algún momento. Esa ilusión que se apodera de nosotros cuando un juego nos pinta bien es un arma de doble filo, porque ilusiona cuando todo sale genial, pero rompe el corazón cuando no. Y hoy vamos a hablar del segundo de...