¿PS Move o PSP Go compatibles con PS5? Una patente de Sony apunta a mayor emulación en PlayStation

Facebook Twitter Flipboard E-mail
3djuegos

El equipo de 3DJuegos

Sony podría estar intentando que el hardware antiguo funcionase en su nueva generación de consolas.

Con PlayStation 5, Sony está dando pasos adelante para facilitar el hecho de jugar a juegos de otros sistemas en la actual generación de consolas. Un buen ejemplo es el renovado PS Plus que ha estrenado hace poquito, que nos da acceso a multitud de juegos clásicos según el nivel de suscripción por el que optemos.

Sin embargo, algunos de esos títulos se ejecutan a través de la nube y no de forma nativa, por lo que todavía tienen una tarea pendiente en la compañía. A pesar de ello, y tal y como leemos en Game Rant, una nueva patente podría hacer compatible hardware antiguo con PS5, algo que parece dirigido a mejorar la experiencia con los títulos clásicos.

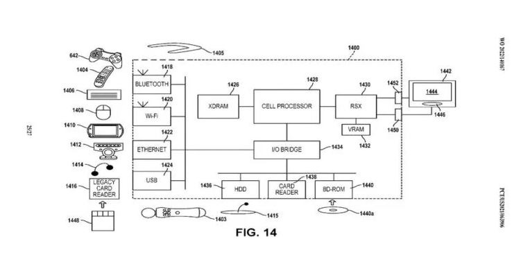
En esta patente podemos ver lo que parece un modelo de Dualshock, una cámara Eye Toy e incluso una PSP Go junto a otros periféricos como los PS Move que se estrenaron en PlayStation 3. También aparece un Sony Media Remote, un PlayStation Mouse y una tarjeta de memoria.

PlayStation 5

Buscan a un ingeniero que desarrolle nuevos emuladores

No queda claro qué puede significar todo esto, pero los expertos señalan que podría ser una manera de mejorar la emulación de la consola. De hecho, una oferta publicada en LinkedIn por PlayStation afirma que buscan un ingeniero de desarrollo de software para su equipo de Clásicos que dé soporte a los juegos recién lanzados y desarrolle nuevos emuladores. Nos mantenemos a la espera de ver en qué se traduce finalmente todo esto.

Como mencionábamos al inicio, el nuevo modelo de PlayStation Plus ya está disponible en España y en otros territorios del mundo. Si quieres saber qué títulos e incentivos traen los tres diferentes niveles de suscripción, hemos elaborado una lista con todos los juegos disponibles en Essential, Extra y Premium para que no te pierdas nada.

Comentarios cerrados
VÍDEO ESPECIAL

16 visualizaciones

20 JUEGOS con un HYPE BESTIAL que NO CUMPLIERON con las EXPECTATIVAS

De una manera u otra, todos hemos sido presa del hype en algún momento. Esa ilusión que se apodera de nosotros cuando un juego nos pinta bien es un arma de doble filo, porque ilusiona cuando todo sale genial, pero rompe el corazón cuando no. Y hoy vamos a hablar del segundo de...