La nueva patente de Sony hará que los usuarios tengan un gran papel en las partidas de streamers

Facebook Twitter Flipboard E-mail
3djuegos

El equipo de 3DJuegos

La compañía nipona ha registrado un sistema que aumenta la interacción entre los streamers y su comunidad.


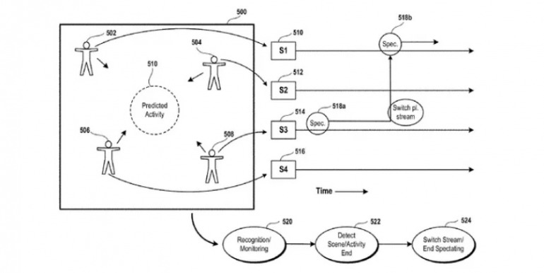
Sony se ha caracterizado por registrar patentes de lo más diversas, lo que nos ha dejado con iniciativas tan innovadoras como la posibilidad de escanear objetos reales para añadirlos a los juegos o una opción muy solicitada en cuanto a emulación. Hoy, la compañía nipona vuelve a sorprendernos con una idea que, más allá de centrarse exclusivamente en la experiencia de los jugadores, estrecharía la relación entre los streamers y su comunidad.

El 'Modo Ayuda' plantea implementaciones que no tienen por qué ser las mismas en todos los juegos

Tal y como recogen desde Game Rant, la compañía ha presentado una patente con la que los espectadores pueden ayudar a un streamer durante una partida retransmitida. Esta propuesta, llamada 'Modo Ayuda', permitirá que los usuarios participen en el juego a través de implementaciones únicas que no tendrían por qué ser las mismas en todos los videojuegos.

PlayStation 5

De este modo, Sony plantea la posibilidad de que los streamers reciban ayuda mediante estrategias que incluirían cambios en las características generales de un título y hasta herramientas que, ofrecidas por los desarrolladores de la aventura, aumentarían el nivel de interacción entre los creadores de contenido y su comunidad. Por el momento, no se han presentado propuestas muy detalladas en este ámbito, lo que da lugar a teorías e ideas propias de los jugadores.

Esto hará que muchos se acuerden del sistema de 'coaching' patentado por Sony a principios de año, que pretende ayudar a los jugadores a través de vídeos y tutoriales según el nivel de habilidad detectado durante la partida. Porque es evidente que la compañía ha estado investigando las posibilidades de la Inteligencia Artificial, lo que se ha dado a conocer a través de una colaboración con los autores de Gran Turismo 7.

Comentarios cerrados
VÍDEO ESPECIAL

1.735 visualizaciones

Estos han sido los MEJORES JUEGOS del AÑO - RESUMEN de la gala PREMIOS 3DJUEGOS LENOVO 2025

Otro año más 3DJuegos ha celebrado la entrega de premios a los mejores juegos de 2025.Una gala llena de referentes como Sandfall Interactive, las mentes tras Clair Obscure: Expedition 33; la streamer Abby; Christian Gálvez o nuestro premio 3DJuegos Legado, Charles Cecil, desar...