PlayStation se prepara para el futuro. Una nueva patente allana el camino para mejorar la tecnología estrella de PS5 Pro

Sony registra una patente que sugiere que PS5 Pro estrenará PSSR 2.0 próximamente

PlayStation se prepara para el futuro. Una nueva patente allana el camino para mejorar la tecnología estrella de PS5 Pro
Sin comentarios Facebook Twitter Flipboard E-mail
adrian-mira

Adrián Mira

Editor

Si tienes PS5 Pro, quédate porque puede que tu consola mejore próximamente. En caso contrario, te recomiendo que también leas el artículo ya que es posible que PS6 se beneficia de la siguiente tecnología. PS5 Pro tiene una tecnología llamada PSSR que, en pocas palabras, toma una imagen a baja resolución y la "reconstruye" mediante inteligencia artificial para que se vea nítida y detallada en pantalla, similar a lo que hace DLSS de NVIDIA o FSR de AMD en PC.

La idea es que los desarrolladores puedan ejecutar el juego a una resolución menor y PSSR se encargue de "rellenar" los detalles que faltan para que en tu televisión se vea como si estuviera a máxima calidad. Si bien la tecnología es muy prometedora, el problema es que desde el lanzamiento de PS5 Pro ese sistema ha dado problemas en varios juegos, restando estabilidad de imagen en juegos que funcionan a 60 fps. Aunque Sony ha ayudado a corregir a los desarrolladores estos problemas en sus juegos, la raíz técnica del problema sigue sin estar resuelta.

La patente que Sony ha registrado

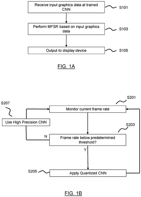
Ahora, una patente registrada por Sony da una pista de cómo quieren arreglar estos problemas con PSSR 2.0. Según recogen desde MP1ST, el documento describe un método llamado "cuantización en tiempo real", que viene siendo que cuando la GPU de PS5 Pro está muy sobrecargada, PSSR 2.0 puede reducir temporalmente la cantidad de "inteligencia artificial" que usa para reconstruir la imagen, en lugar de recortar la resolución base del juego.

PlayStation se prepara para el futuro. Una nueva patente allana el camino para mejorar la tecnología estrella de PS5 Pro

Actualmente, cuando un juego es muy exigente, lo que suele pasar es que el motor reduce la resolución de salida para mantener la fluidez, y eso se nota en una imagen más borrosa. Con PSSR 2.0, la intención es que la resolución base nunca baje, de manera que esta nueva tecnología aligeraría el proceso de IA en ese momento puntual y la calidad se mantiene prácticamente intacta. Esto es algo que ya vimos el año pasado cuando Mark Cerny, el arquitecto jefe de PlayStation, ya había confirmado en marzo de 2025 que el objetivo era tener algo "muy similar a FSR 4 (tecnología en la que Sony colaboró) disponible en PS5 Pro". 

Todavía no hay fecha oficial para el lanzamiento de PSSR 2.0, pero ya se prometió que la mejora de PS5 Pro llegaría en 2026. Si PSSR 2.0 suena ambicioso para PS5 Pro, lo que viene después apunta todavía más alto, pues Mark Cerny habló hace meses de las tecnologías que llegarán a "futuras consolas" en los próximos años, lo que apunta a PlayStation 6. La hoja de ruta incluye tres pilares: matrices neuronales para que la IA que reconstruye la imagen sea más potente y rápida, núcleos de radiación para mejorar la iluminación en tiempo real, y un sistema de compresión universal que reduce el trabajo de la GPU sin sacrificar detalle.

En 3DJuegos | Tienes dos motivos para jugarlo gratis. El primero es si echas de menos la era de la Xbox 360, y el segundo es si eres fan de Imagine Dragons

En 3DJuegos | Life is Strange: Reunion me ha devuelto la ilusión por una saga que no tenía futuro. El milagro que arregla el caos de Double Exposure es Chloe

VÍDEO ESPECIAL

16 visualizaciones

20 JUEGOS con un HYPE BESTIAL que NO CUMPLIERON con las EXPECTATIVAS

De una manera u otra, todos hemos sido presa del hype en algún momento. Esa ilusión que se apodera de nosotros cuando un juego nos pinta bien es un arma de doble filo, porque ilusiona cuando todo sale genial, pero rompe el corazón cuando no. Y hoy vamos a hablar del segundo de...