Apple puede romper el mercado: Se filtra una patente para el rumoreado iPhone plegable

La compañía registró hace escasos días un sistema anti-caída para un dispositivo plegable.

Iphone Plegable
5 comentarios Facebook Twitter Flipboard E-mail
abelardo-gonzalez

Abelardo González

Editor - Tech

Hay dos rumores que siempre están relacionados con la actualidad de Apple. Por un lado, la firma de la manzana mordida siempre protagoniza noticias relacionadas con su equipo de realidad mixta, un casco que podría ser un auténtico monstruo si se confirman todos los aspectos que se revelaron; por otro, se encuentra el famoso iPhone plegable, una opción que podría estar más cerca de lo que pensamos si tenemos en cuenta la última patente que ha registrado la compañía.

iPhone plegable Imagen: Techspot

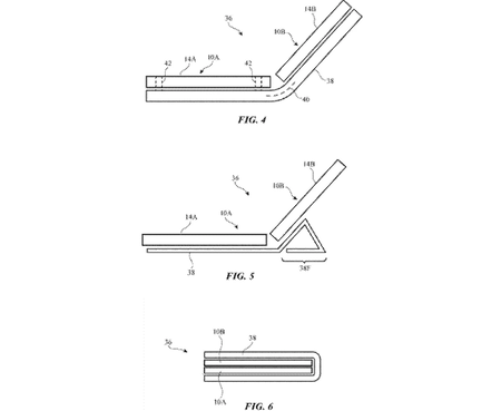
Como puede verse sobre estas líneas, esta es la patente que registró Apple el pasado 16 de marzo, una función conocida como “Self-retracting display device and techniques for protecting screen using drop detection” (que podría traducirse como “Dispositivo autorretráctil con técnicas de protección para la pantalla mediante detección de caídas”). Al parecer, la compañía tendría en mente implementar un detector de caídas en el hipotético iPhone plegable para que este dispositivo, ante la mínima posibilidad de contacto con el suelo, se cierre de forma automática de cara a proteger la pantalla de posibles daños.

El iPhone plegable puede ser una realidad en los próximos años

Tal y como señala Techspot, esta no es la única patente reciente de Apple relacionada con dispositivos plegables. Hace escasas semanas, la compañía registró una idea que ahondaba en un dispositivo con estas características que, al contar con una membrana flexible, podía contener sensores táctiles en todo el teléfono. Gracias a ello, los usuarios podrían interactuar en cualquier parte del terminal sin tener que abrirlo, una posibilidad a la que se sumó hace varios días la patente anti-caídas de la compañía.

Sea como fuere, Apple nunca ha confirmado su intención de lanzar un iPhone plegable. Aunque los rumores de este dispositivo están cerca de cumplir una década, lo cierto es que la compañía ha centrado sus esfuerzos en otro tipo de dispositivos. Además, en los próximos meses tendrán que adaptar los nuevos lanzamientos del iPhone al conector USB-C, una opción que les ha llevado a buscar los límites de este componente para poder salirse con la suya.

Si quieres estar al tanto de otras noticias como esta y te gustaría comentarlas junto a otros miembros de la comunidad, únete al servidor de Discord de 3DJuegos para estar al día de todas nuestras novedades.

En 3DJuegos | Apple lidera la lista de los móviles más vendidos de 2022 con un invitado sorpresa que evita el dominio absoluto de iPhone

En 3DJuegos | Un detalle extremadamente tonto casi deja a Mac y Apple sin uno de los juegos más exitosos de los últimos años

Imagen principal de YouTube

Comentarios cerrados
VÍDEO ESPECIAL

1.735 visualizaciones

Estos han sido los MEJORES JUEGOS del AÑO - RESUMEN de la gala PREMIOS 3DJUEGOS LENOVO 2025

Otro año más 3DJuegos ha celebrado la entrega de premios a los mejores juegos de 2025.Una gala llena de referentes como Sandfall Interactive, las mentes tras Clair Obscure: Expedition 33; la streamer Abby; Christian Gálvez o nuestro premio 3DJuegos Legado, Charles Cecil, desar...